陈思诚、佟丽娅宣布离婚,两人旗下公司无商业关联,陈父陈胜奇成陈思诚资本版
陈思诚、佟丽娅宣布离婚,两人旗下公司无商业关联,陈父陈胜奇成陈思诚资本版图后隐形富豪

5月20日,陈思诚与佟丽娅通过微博官宣离婚。陈思诚发文称,“2011 -2020故事告一段落……你们永远是我最爱的人,换种身份守护”,随后佟丽娅转发回应称,“人间值得,未来可期”。

公开资料显示,陈思诚与佟丽娅于2012年公布恋情,随后在2014年1月举行婚礼,2015年10月,陈思诚官宣佟丽娅怀孕喜讯。

天眼查App显示,佟丽娅目前共关联大丫(上海)影视文化工作室、佟丽娅(上海)影视文化工作室、新沂大丫影视文化工作室等公司。

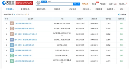
陈思诚共关联上海骋亚影视文化传媒有限公司、寰屿(海南)投资有限公司、陈思成(上海)影视文化工作室、新沂致诚影视文化工作室等公司,两人并无商业关联。

天眼查App显示,在陈思成的商业版图里,与他关联最多的是他的父亲陈胜奇,从来不是佟丽娅。
陈胜奇关联企业共8家,包括北京壹同视界管理咨询有限公司、上海壹同影视制作有限公司、屿胜(海南)企业管理有限公司、寰屿(海南)投资有限公司等。
在《唐人街探案》(8.23亿)、《唐人街探案2》(33.98亿)大获成功后,2019年6月,由陈胜奇担任法定代表人的北京壹同传奇影视文化有限公司成立,同年《唐人街探案3》开拍,出品方里该公司赫然在列。股东信息显示,北京壹同视界管理咨询有限公司是北京壹同传奇影视文化有限公司的最大股东,前者由陈胜奇和陈思成共同持股,持股比例分别为80%、20%。

天眼查App显示,佟丽娅名下关联5家公司,其中4家为个人影视文化工作室,包括大丫(上海)影视文化工作室、新沂大丫影视文化工作室、长兴大果影视文化工作室、佟丽娅(上海)影视文化工作室,佟丽娅均持股100%;值得注意的是,2021年4月20日,佟丽娅参股成立上海逛渝品牌管理合伙企业(有限合伙),经营范围包括品牌管理,酒店管理,餐饮管理等。股东信息显示,佟丽娅为该企业最大股东,持股30%;其他股东还包括张嘉倪、买镜宇(买超)等。
北京商报综合天眼查
-
- 蔡卓妍分手后仍百亿阔少来往,称两人还是朋友,替他澄清出轨传言
-
2026-01-12 20:04:00
-
- 离婚后续!前妻曝吴云飞婚内出轨,牵出刘英等两位女性引热议
-
2026-01-12 20:01:46
-
- 70岁徐小凤近照,昔日乐坛巨星“胖”若两人,与同龄赵雅芝如母女
-
2026-01-12 19:59:31
-
- 引发轰动!《歌手》首发阵容争议终于有回应了!
-
2026-01-12 19:57:17
-
- 网红打卡地⑤中国·和海四川的“马尔代夫”
-
2026-01-12 19:55:03
-
- 美女怀孕外貌变丑,鼻子变大2倍前后对比图惊人!网友看法不一!
-
2026-01-12 19:52:49
-
- 单元剧串联起丰富多彩的故事,一屏齐聚实力派演员
-
2026-01-12 19:50:34
-
- 强权与霸权的起点~美国内战中罗伯特•李将军的“传奇”家世
-
2026-01-11 19:59:33
-
- 被嫌弃“又土又丑”的她,成为中国的第一位百亿票房女演员
-
2026-01-11 19:57:18
-
- 有种“整容” 是谢霆锋离婚,前妻张柏芝没有变化,他像是变了个人
-
2026-01-11 19:55:04
-
- “草根歌手”刀郎,38岁被质疑后“息影“,为何从不摘帽子
-
2026-01-11 19:52:50
-
- 藏了31年!原来她就是老戏骨何政军妻子,难怪当年拒绝和巩俐牵手
-
2026-01-11 19:50:35
-
- 章子怡的混乱情史:找富二代男友反被“嫌”,还和成龙父子传绯闻
-
2026-01-11 19:48:21
-
- 演员郝蕾不图名利只贪爱,结果事业和婚姻都成一地鸡毛
-
2026-01-11 19:46:07
-
- 日本女星出轨成瘾,PUA死前夫,二婚偷吃遭家暴,40岁还有婚外情
-
2026-01-11 19:43:52
-
- 演员任帅:在当红的时候选择退圈,坦言不后悔娶了一个平凡的妻子
-
2026-01-11 19:41:38
-
- 金像影后:曾美慧孜的演员之道
-
2026-01-11 19:39:23
-
- 网红Susan亮相时装周,生图暴露真实颜值,没了滤镜更加仙女
-
2026-01-09 10:03:52
-
- 精选优质超清全屏美女壁纸!阳光活泼!
-
2026-01-09 10:01:38
-
- 贾玲近照胖到认不出,身体发福严重,重180斤走路都有些艰难?
-
2026-01-09 09:59:23



林雨申的老婆杨雨辰资料 一家三口照片曝光幸福美满
老一辈演员王心刚全家照曝光,妻子端庄大方,儿女双全了!
郭冬临的真实老婆(郭冬临的老婆是哪个)
汪峰个人资料(汪峰个人资料及简历四个老婆)
黄有龙简介
岁月致柔事件是怎么回事岁月致柔微博文章原文全文始末来龙去脉后续全过程完整
窦唯(中国摇滚乐男歌手、实验音乐人)
莫少聪个人资料
孙小宝2007年本溪事件是怎么回事始末详情后续全过程完整版来龙去脉
宋林静个人出生简介 宋林静和于和伟的关系是怎样的